
JDX系列減速器采用了現代齒輪設計制造技術,吸取了國內外同類產品的優(yōu)點,總結了國內設計制造同類產品的經驗,根據水泥等行業(yè)使用工況惡劣、低速重載、安全可靠、使用壽命長等特點,專門精心設計用于水泥磨、煤磨等用途的邊緣傳動機減速器。 JDX系列減速器采用單級減速、帶專用油站、齒輪全部為硬齒面,精度達6級(GB/T10095—2001)以上,高可靠度設計,設計壽命為持久壽命,與國內外同類產品相比,具有體積小、重量輕、外形簡潔大方、操作簡單、維修方便、安全可靠、使用壽命長等特點。
減速器外形尺寸及裝配形式

JDX系列邊緣傳動磨機減速器外形尺寸及裝配形式
型號
|
輸入軸
|
輸出軸
|
|||||||||||||
i=4
|
i=4.5~5
|
i=5.6~6.3
|
i=7.1
|
||||||||||||
g
|
d
|
l
|
g
|
d
|
l
|
g
|
d
|
l
|
g
|
d
|
l
|
Q
|
D
|
L
|
|
JDX400
|
270
|
120
|
200
|
270
|
100
|
200
|
270
|
90
|
180
|
270
|
80
|
140
|
270
|
160
|
200
|
JDX450
|
300
|
120
|
220
|
300
|
120
|
200
|
300
|
100
|
180
|
300
|
90
|
160
|
300
|
180
|
220
|
JDX500
|
320
|
140
|
240
|
320
|
140
|
200
|
320
|
110
|
180
|
320
|
100
|
160
|
320
|
180
|
240
|
JDX560
|
340
|
160
|
250
|
340
|
160
|
200
|
340
|
120
|
200
|
340
|
110
|
180
|
340
|
200
|
260
|
JDX630
|
370
|
180
|
250
|
370
|
160
|
230
|
370
|
130
|
200
|
370
|
120
|
180
|
370
|
220
|
300
|
JDX710
|
390
|
200
|
280
|
390
|
160
|
250
|
390
|
150
|
220
|
390
|
140
|
200
|
390
|
260
|
340
|
JDX800
|
425
|
220
|
300
|
425
|
180
|
260
|
425
|
18/0
|
240
|
425
|
160
|
200
|
425
|
300
|
380
|
JDX900
|
455
|
240
|
340
|
455
|
200
|
260
|
455
|
180
|
260
|
455
|
180
|
220
|
455
|
300
|
400
|
JDX1000
|
485
|
260
|
380
|
485
|
240
|
280
|
485
|
200
|
280
|
485
|
200
|
250
|
485
|
320
|
420
|
JDX1100
|
520
|
280
|
400
|
520
|
260
|
300
|
520
|
220
|
300
|
520
|
220
|
280
|
520
|
360
|
440
|
型號
|
a
|
V
|
H
|
h
|
U
|
A
|
F
|
f
|
R
|
S
|
N
|
T
|
B
|
G
|
油站型號
|
平均重量(Kg)
|
JDX400
|
400
|
1050
|
850
|
400
|
50
|
820
|
700
|
/
|
275
|
60
|
4
|
27
|
450
|
390
|
YZ25
|
1450
|
JDX450
|
450
|
1160
|
950
|
450
|
50
|
900
|
780
|
390
|
305
|
60
|
4
|
27
|
510
|
450
|
YZ25
|
1950
|
JDX500
|
500
|
1260
|
1050
|
500
|
50
|
980
|
840
|
420
|
330
|
70
|
6
|
33
|
550
|
480
|
YZ40
|
2600
|
JDX560
|
560
|
1400
|
1170
|
560
|
55
|
1080
|
940
|
470
|
370
|
70
|
6
|
33
|
590
|
520
|
YZ40
|
3050
|
JDX630
|
630
|
1560
|
1310
|
630
|
55
|
1200
|
1060
|
530
|
420
|
70
|
6
|
39
|
640
|
57
|
YZ63
|
3400
|
JDX710
|
710
|
1750
|
1470
|
710
|
55
|
1350
|
1190
|
595
|
470
|
80
|
6
|
39
|
690
|
620
|
YZ63
|
4900
|
JDX800
|
800
|
2030
|
1650
|
800
|
70
|
1480
|
1280
|
640
|
500
|
100
|
6
|
39
|
760
|
680
|
YZ63
|
5800
|
JDX900
|
900
|
2140
|
1850
|
900
|
70
|
1650
|
1450
|
725
|
575
|
100
|
6
|
45
|
820
|
730
|
YZ63
|
8500
|
JDX1000
|
1000
|
2360
|
2050
|
1000
|
90
|
1820
|
1620
|
F/3
|
630
|
100
|
8
|
45
|
880
|
790
|
YZ125
|
9250
|
JDX1100
|
1100
|
2570
|
2250
|
1100
|
90
|
1980
|
1780
|
F/3
|
695
|
100
|
8
|
45
|
950
|
860
|
YZ125
|
11800
|
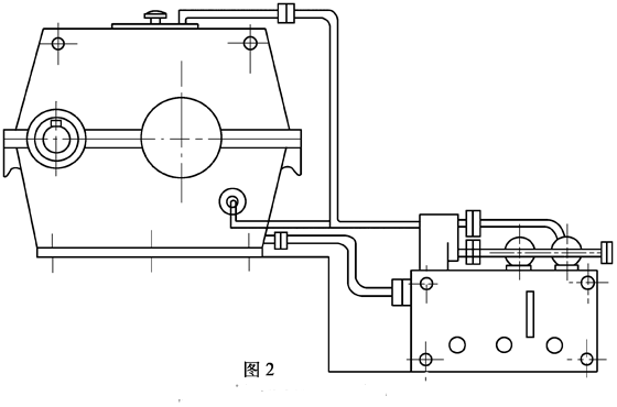
減速器與稀油站連接圖
JDX系列邊緣傳動磨機減速器與稀油站連接圖























